
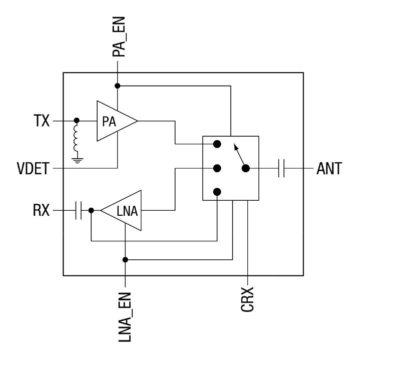
Dans un boîtier QFN de 16 broches, le SKY85726-11 inclut amplificateur de puissance et LNA à 5GHz, commutateur Rx/Tx et détecteur de puissance logarithmique.
Estampillé SKY85726-11, le dernier module frontal WLAN 802.11ax de Skyworks cible les points d’accès sans fil, les routeurs et les passerelles. Dans un boîtier QFN-16 de 3mm de côté, le nouveau venu intègre un amplificateur de puissance, un amplificateur faible bruit (court-circuitable) et un commutateur Rx/Tx unipolaire de type SPDT (single-pole, double-throw). A ces éléments s’ajoutent un détecteur de puissance logarithmique et un coupleur directionnel.
Adapté à l’entrée et à la sortie, le SKY85726-11 est exploitable dans la bande des 5GHz (5,15 à 5,925GHz). Les gains en émission et en réception sont respectivement de 32dB et 13dB. Selon les conditions opératoires et l’index MCS (Modulation and Coding Scheme, schémas de modulation et de codage), la puissance de sortie est de +16dBm (MCS11, EVM de -43dB), +20 dBm (MCS9, EVM de -35dB) et de +21dBm (MCS7, EVM de -30dB).